-
IT DATA تعلن عن منحة MCITP في مراكزها المعتمدة للطلبة والخريجين بتكلفة منخفضة
-
الفيسبوكبون يشنون هجوم الكترونيا على موقع توفيق عكاشة
-
اشترك في مسابقة 2012 جنيه دهب من " موبينيل " واكسب جنيهات ذهبيةيومياً واسبوعياً وشهرياً
-
كيونت تطرح "بيور هوم" لمواجهة تلوث مياه الشرب فى مصر بعد الثورة
-
فى مذكرة ل شرف : سكان مدينة العبور يطالبون بنقلهم اداريا لمحافظة القاهرة
-
ب 5000 دولار : "امراة الية " لاقامة علاقات عاطفية مع الرجل
-
من ابناء القطاع : 3 مرشحين لتولى منصب وزير الاتصالات
-
اقبال كبير على التعليم الالكترونى فى مصر لقدرته على ايصال المعلومة اسرع وأقل تكلفة
-
"فودافون" تنفى القبض على 3 من موظفيها لبيعهم كروت بأسعار مخالفة للتسعيرة.. وتبحث تعديل عرض "الكارت كارتين" بما يتوافق مع مصلحة عملائها
-
"Hitech4all.com"يفوز بجائزة ثقافة الجودة بالإعلام العربي من جامعة حمدان بن محمد الإلكترونية
اقرأ لهؤلاء
أصدقاؤك يفضلون:

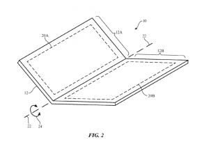
يبدو أن شركة آبل تُفكر حقاً بإنتاج هاتف قابل للطي في المستقبل. عملاقة التكنولوجيا الأمريكية قد قامت بتسجيل براءة اختراع جديدة في الولايات المتحدة الأمريكية، وهي كما تشاهدون في الصورة بالأعلى، تسمح بإنتاج جهاز محمول قابل للطي دون التعرض للكسر.
بالطبع تسجيل براءة الاختراع لا يعني أن الشركة ستقوم باستعمالها بالضرورة، ولكن الفكرة تبدو تجديدية بصورة كبيرة بالنسبة لما هو موجود حالياً في سوق الهواتف المحمولة، خاصة وأن براءة الاختراع تتضمن التصنيع بمواد ودوائر إلكترونية خاصة، حيث تعمل تقنية الطي بشكل مختلف عما هي عليه في بعض الأجهزة الأخرى كما هو الحال مع محمول ننتندو DS أو 3DS مثلاً.
آبل قد اتُهمت بعدم الإبداع والتجديد في تصميم هواتفها مؤخراً ولكن من يدري؟ قد تكون الشركة على أعتاب ثورة جديدة في تصميم الهواتف والأجهزة المحمولة.





